Description:The Disposable Protective Cap belongs to used for prevent medical devices from pollution. The products that can be used with this product are inner cone locking joint or needle free infusion joint.Function:The Disposable Protective Cap is suitable for connecting with inner cone locking j......
| No. | Product part | Material |
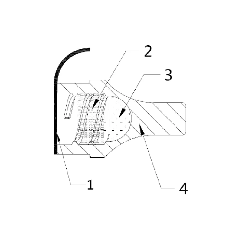
| 1 | Protective Cap shell | PP |
| 2 | Sponge | PU |
| 3 | 70% isopropanol | Isopropanol |
| 4 | Seal protective film | Aluminum foil |
Package:| Number of pieces | Dimensions | |
| Box | 40 | 170mm*90mm*110mm |
| Carton | 800 | 460mm*350mm*230mm |










